• 成人抖音91下载入口,成人抖音视频,成人91抖音免费版,成人抖音APP下载网站

    歡迎來到上海成人抖音91下载入口自動化設備有限公司網站!

    15921758826

    熱門搜索:

    成人91抖音免费版測試儀,上海成人抖音视频測試儀,成人抖音APP下载网站,水平垂直燃燒測試儀

    產品中心

    熱門新聞

    聯係成人抖音91下载入口

    上海成人抖音91下载入口自動化設備有限公司

    聯係人:陸先生

    聯係電話:15921758826

    地址:上海市金山區山陽鎮衛清東路2312


    塑料生物降解測試係統

    塑料生物降解測試係統
    塑料生物降解測試係統
    塑料生物降解測試係統
    訪問量 : 2869
    編輯時間 : 2024-03-15
    詳細介紹:

    塑料生物降解測試係統

    技術參數:

    1、測試反應通道數目至少:3,1組為3個杯,合計9個杯子,合計9個通道(獨立控製,做一次試驗至少9個杯子,9個通道;

    2、溫控範圍:室溫+5℃~70;

    3、溫控精度:±1;

    4、濕度監控範圍:30%95%RH;

    5、 流量範圍:0.012L/min;

    6、紅外二氧化碳監測: 量程010000ppm;

    7、 電化學氧氣監測:量程025%Vol;

    8、 溫度監測:-50150;

    9、濕度監測:0100%RH;

    10、 壓力監測:量程01 KPa;

    11、 每個通道流量監測:0.0110L/min,精度±1%FS;

    12、 標準反應器容積:2500毫升(其它體積可選;

    13, 試驗腔X可根據客戶要求選擇,每一組3杯子檢測通道,每組9個杯子,合計9路通道(A,三個杯子裝試驗材料容器杯子,B,三個裝參比材料容器杯子,C,三個空白容器杯子);

    14,彩色觸摸屏20寸,中英文切換;

    15,反應容器體積不小於3L(3個一組,自然狀態,供氧堆肥,負壓狀態);

    16,恒溫室尺寸3.6mx0.3mx0.45m(實際尺寸不低於此空間);

    17,控溫範圍:室溫~70度(冷凝裝置);

    18,濕度範圍:0%RH、30% ~ 100%RH;

    19,氧流量範圍:0.01 ~ 1L/min(其他範圍可定製);

    20,紅外二氧化碳範圍:0 ~ 10000ppm(其他量程可定製);

    21電化學氧氣範圍:0 ~ 25%Vol;

    22,壓力範圍:-0.1 ~ 0.1MPa;

    (負100kPa可以被轉換為絕對壓力,即絕對壓力為101.325kPa(標準大氣壓)減去100kPa,得到1.325kPa。因此,負100kPa相當於在大氣壓為101.325kPa的情況下,壓力低於大氣壓1.325kPa,即真空度為1.325kPa。)

    整機功率:220V


     


    9aa314313c90aa006e38332b2cbb28f.png塑料生物降解測試係統(程斯)_10.png


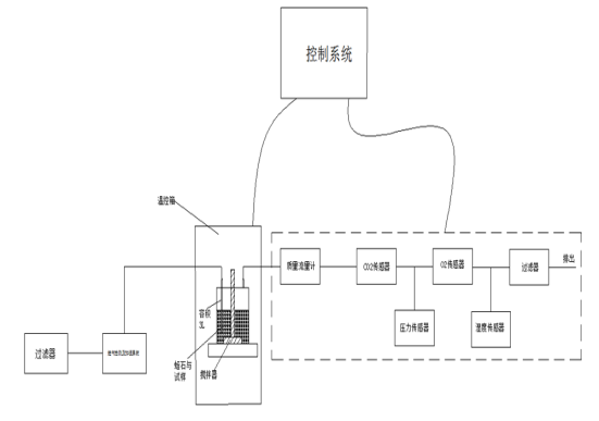
    一、塑料生物降解測試係統

    用於將材料作為有機化合物在受控的堆肥條件下,通過測定其排放的二氧化碳量來確定其需氧生物分解能力及其崩解程度。試驗材料與接種物混合,導入靜態堆肥容器,在該容器中,混合物在規定的溫度、氧濃度和濕度下進行強烈的需氧堆肥。

     

     

    儀器用途:

    用於將材料作為有機化合物在受控的堆肥條件下,通過測定其排放的二氧化碳量來確定其需氧生物分解能力及其崩解程度。試驗材料與接種物混合,導入靜態堆肥容器,在該容器中,混合物在規定的溫度、氧濃度和濕度下進行強烈的需氧堆肥。

    在試驗材料的需氧生物分解過程中,二氧化碳、水、礦化無機鹽及新的生物質都是生物分解的產物。在試驗中連續監測、定期測量試驗容器和空白容器產生的二氧化碳,累計產生的二氧化碳量。試驗材料在試驗中實際產生的二氧化碳量與該材料可以產生的二氧化碳的理論值之比為生物分解百分率。

    根據實際測量的總有機碳(TOC)含量可以計算出二氧化碳的理論釋放量。生物分解百分率不包括已轉化為新的細胞生物質的碳量,因為它在試驗周期內不代謝為二氧化碳。

    此外,在試驗結束時可以確定試驗材料的崩解程度,也可以測定試驗材料的質量損失。

     

    符合標準:

    GB/T19277.1-201 受控堆肥條件下材料需氧生物分解能力的測定 采用測定釋放的二氧化碳的方法:通用方法

    GB/T19277.2-2013 受控堆肥條件下材料需氧生物分解能力的測定 采用測定釋放的二氧化碳的方法:用重量分析法測定實驗室條件下二氧化碳的釋放量

    GB/T19811-2005 在定義堆肥化中試條件下塑料材料崩解程度的測定eqv

    GB/T29649-2013 生物基材料中生物基含量測定 液閃計數器法

    GB/33797-2017 塑料在高固體份堆肥條件下厭氧生物分解能力的測定,采用分析測定釋放生物氣體的方法

    GB/T22047-2008 土壤中塑料材料需氧生物分解能力的測定 采用測定密閉呼吸計中需氧量或測定釋放的二氧化碳的方法

    GB/T20197-2006 降解塑料的定義、分類、標識和降解性能要求

    GB/T32163.2-2015 生態設計產品評價規範:可降解塑料

    GB/T16716.7-2012 包裝與包裝廢棄物:生物降解和堆肥

    GB/T38082-2019 生物降解塑料購物袋

    GB/T29646-2013 吹塑薄膜用改性聚酯類生物降解塑料

    GB/T32366-2015 生物降解聚對苯二甲酸-己二酸丁二酯(PBAT

    GB/T33798-2017 生物聚酯連卷袋

    GB/T35795-2017 全生物降解農用地麵覆蓋薄膜…等


    產品特點:


    1、連續氣流式有氧裝置

    2、氣體傳感器實時在線測試塑料樣品降解過程中的CO2、O2、H2S、CH4等氣體含量

    3、測量精度高,可以捕獲較小的呼吸率變化

    4、氣密密封的反應器,小流量體積單位以升表示



    64548a14844e52705e9fe76bfc4c9117.png

    5、 質量流量控製器,設置和測量反應器中氣體流量

    6、氣體流量自動化檢測,自動加濕,自動檢漏

    7、自動攪拌裝置可設定調整時間周期範圍

    8、設備具備全自動電子式測量模式,大屏幕觸摸屏操作

    9、 立式設計,結構緊湊,占用空間小

    10、單個的全自動控製係統,實時分析實驗數據,實驗結果可上傳至電腦實現降解全過程跟蹤

    11、三級權限和數據審計追蹤功能,自由存儲實驗數據

    12、可通過手機、網頁瀏覽器遠程訪問實行跟蹤實驗過程

    配置清單:

    1、主機1

    2、空氣泵1

    3、空氣加濕器1

    4、反應器1

    5、氣體傳感器1

    6、質量流量計1

    7、溫控箱1

    8、安裝使用包1

    9、使用說明書1

     


     上海成人抖音91下载入口自動化設備有限公司致力於提供材料測試方麵的實驗室整體解決方案,廣泛服務於纖檢、質檢、商檢、科研院所等企事業單位及各類實驗室。

    成人抖音91下载入口的產品有:魯爾圓錐接頭多功能測試儀、織物摩擦電荷量測試儀、皮膚縫合針彈性韌性測試儀、口罩細菌過濾效率測試儀、靜電衰減測試儀、百格十字刮擦測試儀、熱阻濕阻測試儀、強力機等三百多款產品涵蓋二十多個係列。

    公司以行業高素質的技術人才為根本,以的科學技術為依托,同時與國內大院校、科研院所、生產廠家密切合作。成人抖音91下载入口自創辦以來直以"科技興企,創新求實,客戶至上,真誠待人,踏實做事!"為經營方針,成人抖音91下载入口直願做客戶好的合作夥伴,給夥伴提供優質的產品,貼心的服務是永遠的追求!感謝八方朋友的一路相伴而行,希望有更多的朋友加入成人抖音91下载入口,讓成人抖音91下载入口共同發展壯大!

    昨天成人抖音91下载入口披荊斬棘,嶄露頭角,今天成人抖音91下载入口精誠奉獻,視企業發展為己任;明天成人抖音91下载入口定會締造輝煌,與您共創雙贏!

    相關新聞

    15921758826
    網站地圖